Die Bremsenbude
- Die Bozic-Bremse -
- technische Betrachtung -
Die Bozic-Bremse ist von ihrer Idee her eine genial einfache Konstruktion. In dieser Einfachheit liegen aber auch die Mängel dieser Bauart im Betrieb und in der Unterhaltung.
Alle Schieber und Ventile sind als Drehteile, also rotationssymetrisch, ausgeführt. Das ist fertigungstechnisch natürlich ein sehr großer Vorteil.
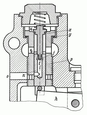
Das untere Bild zeigt das Doppelsitzventil v1v2 in Verbindung mit dem zylindrischen Schieber n und der Führungsbuchse p bei der Stellung des Steuerventils nach Vollendung des ersten großen Ansprungs, also in der 2. Phase, in der der weitere Druckanstieg im Bremszylinder nur ganz langsam erfolgen darf. Diese Stellung wird zunächst bestimmt durch die Stellung des Zapfens n, also durch die Durchbiegung der Biegehaut m mit dem Kolben k1 nach oben und mit dem Kolben k3 nach unten. Diese Durchbiegungen werden hervorgerufen durch die Unterschiede des Steuerkammerdrucks A gegen den Leitungsdruck L und durch den Druck C im Bremszylinder auf den Kolben k4, abzüglich der Spannung der Feder f1 und f5. Die Elastizität der Biegehaut ist also eine ganz wesentliche Vorraussetzung für die richtige Einstellung des Doppelsitzventils v1v2. Andererseits ist diese aber abhängig von der Stellung der Führungsschraube p im Gehäuse, die bestimmt wird durch die Dicke der Dichtungsscheibe y und durch die Kraft, mit der die Buchse eingeschraubt wurde.

Doppelsitzventil der Bozic-Bremse
Betrachtet man nun den in dieser Stellung des Doppelsitzventils freigegebenen Ringspalt x an v1 näher, so erkennt man, welche Unterschiede im Bremsdruckanstieg sich bei nur ganz geringen Abweichungen des Ventilhubs ergeben müssen. Ein Ringspalt von nur 0,05 mm Breite ergibt einen Durchströmungsquerschnitt, der in seinem Düsenwert einer Lochdüse von etwa 1,2 mm entspricht. Eine Lochdüse von 1 mm - das ist die Bremsdüse für einen 10"-Bremszylinder - würde für denselben Düsenwert einen Ringspalt von 0,035 mm brauchen. Die zusätzliche Drosselung muß deshalb durch den konischen Sitz des Ventils erfolgen, und zwar darf dafür der Hub des Ventils nur 0,022 mm betragen.

Doppelsitzventil der Bozic-Bremse, Detail
Ähnlich sind die Verhältnisse auch bei der Einstellung des Ventils v2 mit seinem Zapfen t beim Lösen der Bremse gegenüber der konischen Bohrung j im Zylinder n.
Die veränderlichen ringförmigen Querschnitte ergeben eine unendliche Zahl von verschiedenen Bremsdiagrammen auch bei Wagen mit gleicher Belastung und gleichem Kolbenhub. Die bei den für die Versuche trotz der gut hergerichteten Ventile festgestellten Ungleichheiten in der Wirkung der Bremse sind daraus ohne weiteres zu erklären. Im normalen Betrieb wird die Ungleichmäßigkeit der Wirkung noch stärker auftreten, da die erforderliche genaue Einstellung der Ventile in den Werkstätten kaum erreichbar ist.
Die Lösezeiten der Bozic-Bremse für lange Züge ist auch bei der verbesserten Ausführung noch sehr groß. Die Bozic-Bremse wurde von den Skoda-Werken hergestellt.