Die Bremsenbude
- die schnellwirkenden Steuerventile -
Die zu langsame Durchschlaggeschwindigkeit des Einfachsteuerventils und die damit verbundenen Störungen - bei langen Personenzügen kam es zu Zugtrennungen - führte zu einer Weiterentwicklung dieser Bauart, zum schnellwirkenden Steuerventil.
Die Aufgabe war es, eine Einrichtung zu entwickeln, die bei einer vollständigen Entleerung der Hauptluftleitung durch eine Schnellbremsung, Leitungsbruch oder betätigen der Notbremse zusätzlich Luft aus der Hauptluftleitung abzapft, um das Ansprechen der Steuerventile zu beschleunigen.
Das Aussehen des Steuerventils hat sich nun geändert, es ist ein Absperrhahn für das Schnellbremsventil dazugekommen, welcher gleichzeitig auch zum Ausschalten des Steuerventils genutzt werden kann.
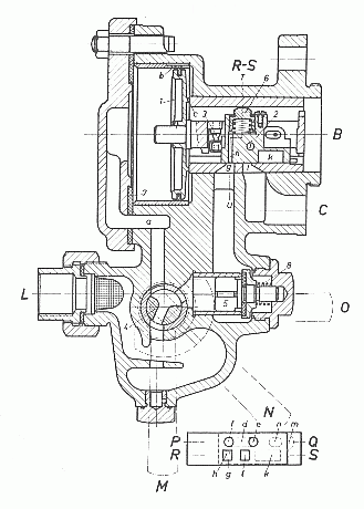
Diese Bauart ist das schnellwirkende Steuerventil K1 der Knorr-Bremse.

Steuerventil K1, Ansicht
Es ist bei fast allen Wagen anzutreffen, die einmal als Abteilwagen gefahren sind und bei den daraus erfolgten Umbauten, also Umbau-Dreiachser der DB und Reko-Zwei- und Dreiachser der DR. Außerdem findet man es an vielen alten zweiachsigen Plattformwagen von Privatbahnen und an Tendern von Dampflokomotiven.
Und was ist nun der Unterschied zu dem Einfachsteuerventil ?
Das schnellwirkende Steuerventil ermöglicht eine schnelle, gleichmäßige und ruckfreie Bremswirkung im Zug.

Steuerventil K1, Lösestellung
Die Funktionsweise ist gleich dem Einfachsteuerventil, aber bei einer Schnellbremsung (vollständiges entleeren der Hauptluftleitung ) bewegt sich der Kolben ganz nach links und es wird Luft aus der Hauptluftleitung über den Schieber direkt in den Bremszylinder abgezapft, gleichzeitig strömt Luft aus dem Hilfsluftbehälter in den Bremszylinder. Ist der Druck in der Hauptluftleitung niedriger wie im Bremszylinder, dann schließt das Ventil 5 und verhindert so das Zurückströmen der Luft. Durch das Zusammenwirken des Lufteinschusses aus der Hauptluftleitung und des Hilfsluftbehälters auf den Bremszylinder entsteht bei der Schnellbremsung ein höherer Bremszylinderdruck.

Steuerventil K1, Schnellbremsstellung
Diese besondere Eigenschaft ermöglichte es, die Druckluftbremse auch bei längeren Personenzügen einzusetzen.