Die Bremsenbude
- Die einstufige Luftpumpe Bauart Knorr mit Hohlventilen -
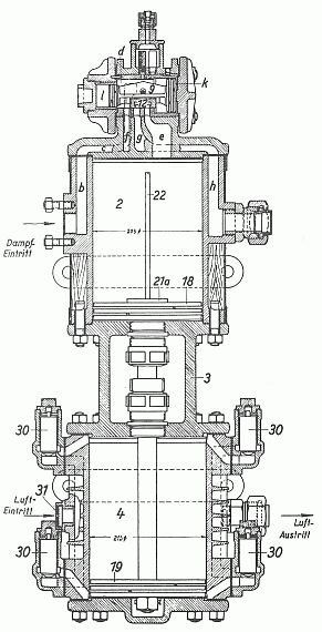
Die einstufige Luftpumpe Bauart Knorr hat eine Steuerung mit Schleppschieber.
Auf der unteren Abbildung ist links der Stufenkolben und rechts der Schieber 6 zu sehen.
Der dem Lokomotivkessel entnommene Dampf gelangt durch die Kanäle b und c in die Hauptsteuerkammer d. Diese steht mit der Umsteuerkammer r in Verbindung. Die Kammern d und r enthalten also Dampf von gleichem Druck.
Das Einströmen von Frischdampf in den Zylinder 2 wie das Ausströmen des Abdampfes ins Freie regelt der Steuerkolbensatz 9. Er besteht aus zwei Kolben verschiedener Größe, deren gemeinsame Verbindungsstange den Schieber 12 mitnimmt. Im Raum d zwischen den beiden Kolben herrscht stets Frischdampf. Auf die äußere Fläche des größeren der beiden Kolben wirkt der Dampf nur, wenn ihn der Umsteuerschieber 6 in die Kammer k einläßt. Den Raum l hinter dem kleinen Kolben verbindet eine Bohrung mit dem Ausströmkanal g, dort herrscht also immer der Druck der Außenluft.

Dampfzylinderdeckel der ein- und zweistufigen Luftpumpe mit Hohlventilen
In der gezeichneten Stellung der Steuerung strömt Frischdampf aus der Steuerkammer d durch den Kanal f in den unteren Teil des Dampfzylinders und treibt den Hauptkolben 18 aufwärts. Gegen Ende des Kolbenhubs greift die Platte 21a unter dem oberen Bund der Umsteuerstange 22 und hebt sie mit dem damit verbundenem Umsteuerschieber 6 nach oben. Der Umsteuerschieber unterbricht die Verbindung des in die Kammer k mündenden Kanals n mit dem Auspuffkanal m und öffnet eine Bohrung o, durch die nun Frischdampf aus r zur Kammer k überströmen kann. Dieser treibt den Schieber 12 nach links und öffnet damit den Kanal e, während die Schiebermuschel die Kanäle g und f miteinander verbindet. Der Dampf aus der Kammer d strömt jetzt durch e oben in den Zylinder ein und treibt den Dampfkolben 18 abwärts, während der Abdampf aus dem Zylinderraum unter diesem Koben durch die Kanäle f, g und h ins Freie ausströmt.
Die Platte 21a greift den Knopf am unteren Ende der Umsteuerstange 22 und zieht diese mit dem Umsteuerschieber 6 wieder in die gezeichnete Stellung herab, wenn der Dampfkolben 18 sich dem Ende des Arbeitshubes nähert. Der Schieber 6 verbindet dann die Kanäle m und n und läßt dadurch den Dampf aus dem Raum k ins Freie entweichen. Auf die äußeren Flächen des Stufenkolbens 9 wirkt also jetzt kein Überdruck, während die inneren Flächen dem Druck des Frischdampfes in der Kammer d ausgesetzt sind. Da der rechte Kolben des Stufenkobens 9 im Durchmesser größer ist als der linke, wird die Steuerung nach rechts in die gezeichnete Stellung bewegt. Der Schieber 12 öffnet nun den Kanal f und verbindet die Durchgänge g und e, sodaß der Dampf aus dem oberen Teil des Zylinders 2 durch e, g und h ins Freie entweicht, während gleichzeitig aus der Kammer d Frischdampf durch f in den unteren Teil des Zylinders 2 einströmt und den Dampfkolben 18 wieder nach oben treibt.

einstufige Luftpumpe, Schnitt
Der Luftkolben 19 bewegt sich stets mit dem Dampfkolben 18. Bei jedem Aufwärtshub saugt der Luftkolben Außenluft durch die Öffnung 31 und das untere Saugventil 30 in den unteren Teil des Luftzylinders 4 ein und drückt gleichzeitig die Luft im oberen Teil des Zylinders durch das obere Druckventil 30 in den Hauptluftbehälter. Bei jedem Abwärtshub des Hauptkolbens findet die gleiche Wirkung in umgekehrter Richtung statt, indem er in den oberen Teil des Zylinders 4 wieder Außenluft durch die Öffnung 31 und das obere Saugventil 30 einsaugt, während er gleichzeitig die Luft auf der anderen Kolbenseite durch das untere Druckventil 30 in den Hauptluftbehälter drückt.